I’ve blogged before about the importance of a strong start in your one-shots, and a good way to achieve that is to start in medias res – in the midst of the action.
While you’re reading this, I should tell you about my Patreon. Patrons get access to content 7 days before they hit this site, the chance to request articles or content, and the chance to play in one-shot games, for a very reasonable backer level. If you like what you read, want to support the blog, and have the funds for it, please consider supporting here.
In Medias Res as a term was coined by Horace in his Ars Poetica, when he pointed out that Homer’s games of D&D he was running down the Parthenon didn’t start ab ovo – with the dragon hatching from the egg – but right in the middle of a pitched battle against orcs. Or something like that. What it means for us is a reliable way to get dice rolling within the first twenty minutes – and get the pace tripping along right from the start.
So, here are 5 In Medias Res’s to get your one-shots off to a bang.
The Previous-Quest-Maguffin

Begin at the end of the last adventure – where they find a fantastical item that spurs them on to the main quest. A good chance for an ‘easy’ section of dungeoning – a ‘training level’ – to get the item, and then some problem solving / roleplay to interpret the item and pick up the trail.
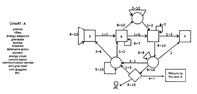
Credit to Dirk the Dice of The Grognard Files who did this in a memorable Gamma World one-shot that I’ve shamelessly stolen (both here, and in other con games) – in that game we used the infamous artifact flowchart to decipher the mission.
Trapped in the Tomb
Don’t just start at the door to the dungeon, have the party on the wrong side of it as the trap triggers and the door closes behind them. You might want to have another peril activate at the same time, just to lay it on thick that they need to find a way out – as well as whatever they came here for in the first place.
Note that if you’re doing this you’ll need some NPCs or other roleplaying opportunities in the tomb/dungeon/derelict space station in order to make this more interesting – so throw in a chatty mummy/off-message AI/reactivated golem for the PCs to interact with and help/hinder them as well.
The Contest
You don’t think just anyone gets to represent the king while plundering the treasures of the forgotten jungles? No, every year you must compete for the privilege against the nations most foolhardy heroes. Feel free to have some of the failed contestants travel over there anyway as a rival adventuring party – that the PCs will eventually have to save and/or fight.
In terms of pacing, don’t make the contest too long, or it might become the focal point of the whole session – a few skill checks or a simple combat should be enough. Last year I started a Legend of the 5 Rings campaign with each PC describing the gift they’d brought for the daimyo they’d appeared to serve, and then make a skill check for how successful their gift had been – and one bushi’s terrible sake became a recurring theme for the whole campaign.
In Medias Res-ervoir Dogs
The heist (dungeon crawl, assassination, saving the city, etc…) went wrong – or at least drew a lot of heat. Now they’re on the run, trying to escape and fix things. A good way to start with a chase scene – either using the RPGs chase mechanics or just some opposed skill checks or a fight.
This is a good example of a fight with a clear objective – and an opportunity to intersperse the scene with flashbacks of the actual job they’re running from. Note that in Reservoir Dogs they just lie low and chew scenery at each other – diverge from the film in your game and have them carry out the even bigger score that will make things right, hunt down the contact who betrayed them, or finally get the jewels back.
Zombies Attack!
Wherever the PCs are at the start (tavern, castle, space station, etc…) is suddenly subject to an invasion. A recent session of Deadlands I played in started with zombies crawling through the saloon floor, and it’s a well tested method for starting with a bang.
As with Trapped in the Tomb, you’ll need to make sure there’s a few NPCs for the PCs to interact with during the session so it’s not just a string of fights, but having the call to action be an actual invasion is a classic trope. See here for more ideas about managing invasions – you might want to think about what weakness of the attackers can be exploited, and how they can find it, for instance.
So, five ways to start your one-shot with a bang – what other ways have you seen a one-shot started? Let me know in the comments.


